Monday, July 9, 2018-9:39 AM
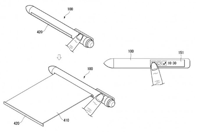
जालंधर- अाज के समय में मोबाइल कंपनिया यूजर्स को अपनी और अाकर्षित करने के लिए नए- नए स्मार्टफोन्स लांच कर रही हैं। इसी बीच दक्षिण कोरियाई कंपनी एलजी एक एेसे स्टाइलस पेन पर काम कर रही हैं जो आपके स्मार्टफोन की जगह ले लेगा। कंपनी के इस नए डिवाइस का एक पेटेंट सामने अाया है और इससे पता चल रहा है कि यह फोल्डेबल स्टाइलस पैन दो डिस्प्ले के साथ आएगा। वहीं नोटिफिकेशन और यूजरफुल शॉर्टकर्ट्स भी दिए जाएंगे। स्टाइलस में एक फ्लेक्सिबल डिस्प्ले दिया जाएगा जो स्टाइलस की बॉडी में पूरी तरह से रोलआउट हो जाएगा। हालांकि कंपनी ने अपने इस डिवाइस के बारे में कोई अधिकारिक जानकारी नहीं दी है।

खास सेंसर्स
इसके साथ ही तस्वीर को देखकर पता चल रहा है कि इस पैन में सेंसर्स भी दिए जाएंगे जिसमें गाइरो, प्रॉक्सिमिटी, कैमरा, आई ट्रैकिंग और एक फिंगरप्रिंट सेसंर मौजूद होंगे। पेटेंट में इस बात का भी खुलासा किया गया है कि इसे किसी भी स्मार्ट डिवाइस से जोड़ा जा सकता है।

इयरफोन की भी सुविधा
पेटेंट में ये भी कहा गया है कि इसमें माइक्रोफोन और इयरफोन की भी सुविधा दी जाएगी जिससे यूजर्स कॉल कर सकेंगे। इसके अलावा पैन में एक डेडिकेटेड बटन से होगा जिसे पैन के बिल्कुल नीचे दिया जाएगा। अाप स्टाइलस पैन से आप रेगुलर एप्स, टेक्स्ट और ब्राउजिंग भी कर सकते हैं। बता दें कि अभी तक यह पता नहीं चल सका है कि इस खास डिवाइस को कब तक लांच किया जा सकता है।
